摘要:为提高BP神经网络在课程成绩预测中的准确性,该文提出了一种基于遗传算法优化BP神经网络的成绩预测模型。选取与目标课程成绩相关系数最高的5门课程成绩作为输入特征,通过设计遗传算法的适应度函数和全局搜索策略,优化BP神经网络的初始权重和偏置,实现目标课程成绩的预测。同时,对比了优化前后模型的预测效果。结果表明,该优化模型展现出更快的收敛速度、更强的泛化能力和更高的预测精度,可应用于成绩预测领域,
摘要:为提升视障人士独立出行的安全性,文章设计并实现了一种多功能智能避障系统。该系统以STM32F103微控制器为核心,融合了基于MaixCAM Pro的AI视觉检测与HC-SR04超声波测距技术,实现了对障碍物与行人的双重感知与精确测距。当检测到潜在危险时,系统通过JQ8900语音模块实时预警。此外,系统集成MPU6050传感器进行姿态监测,一旦检测到用户跌倒,将自动结合GPS定位,通过SIM9
摘要:针对现有方法在眼底血管分割任务中面临的挑战,文章提出一种名为MGU-Net的新型网络架构。该网络在U-Net骨干基础上进行了三方面关键改进:1) 设计了多尺度膨胀卷积模块(MDC) 以增强对不同尺度血管特征的捕获能力;2) 在编码器和解码器之间引入GCNet模块,高效建模全局上下文信息以强化对微小血管的响应;3) 采用一种融合了BCE、Dice及边界损失的混合损失函数,以缓解类别不平衡并提升
摘要:为应对电商环境中市场波动剧烈、传统定价与需求预测方法失准的挑战,该研究提出了一种基于人工智能的自适应预测模型。该模型创新性地融合了长短期记忆网络(LSTM) 与异构集成学习(随机森林、梯度提升等) ,并通过多层次特征工程与基于预测误差反馈的自适应权重分配机制,实现对商品价格敏感度与市场需求的高精度动态预测。为验证模型有效性,该研究构建了一个多场景的虚拟电商仿真环境。仿真实验结果表明,该混合模
摘要:文本情感分类是自然语言处理领域的核心任务之一,在社交媒体分析、客户反馈挖掘及舆情监测等领域具有重要应用价值。文章系统梳理了中文文本情感分类的研究进展。首先,深入剖析了基于深度学习的主流模型,涵盖循环、卷积神经网络、Transformer 架构及其与注意力机制的融合策略,同时探讨了多模态方法的应用。通过对比BERT-wwm、ERNIE 等预训练模型在中文场景下的性能表现,实验对比证实,融合预训
摘要:为解决尺度不变特征变换(SIFT) 算法在特征点提取过程中计算复杂度高、存在大量冗余运算的问题,该研究提出了一种优化的SIFT算法。该算法的核心是创新性地定义了一种“梯度变化累计因子”,通过分析图像的一阶与二阶梯度,预先识别并屏蔽图像中的平坦或线性变化等不含稳定特征点的区域。在此基础上,算法对图像内不同像素区域进行差异化的尺度空间构造与极值点检测,从而显著减少无效计算。在牛津大学几组标准图像
摘要:为破解突发公共卫生事件下应急物流网络因需求时空不确定性导致的布局不优与配送路径的应急重构等系统性难题,针对突发公共卫生事件下应急物流网络优化问题,文章提出并构建了一套整合优化算法与多智能体仿真的动态决策支持框架。该框架首先运用多目标遗传算法求解应急枢纽设施的选址—分配(Location-Allocation) 优化问题;随后,将优化方案导入AnyLogic仿真平台,通过多智能体建模,在GIS
摘要:随着人工智能技术的飞速发展,计算机技术呈现快速迭代之势。作为计算机专业人才培养的关键环节,传统计算机专业教学模式已难以满足社会对高素质人才的需求,教学改革势在必行。人工智能技术在计算机专业教学中的应用,不仅是响应高校智慧教育发展战略的关键举措,更是推动计算机专业教学数字化升级的核心驱动力。该研究立足于智慧教育的内涵与核心特征,深入分析了人工智能技术与计算机专业教学的内在适配性。在此基础上,从
摘要:针对操作系统课程的教学改革痛点,该文提出基于人工智能技术的改革方案。通过构建智能教学资源库、运用知识图谱技术、打造考研智能训练系统以及建立AI驱动的教学迭代机制等措施,系统降低课程学习难度,提升教学效能与考研复习针对性。改革以复合型人才培养为导向,强化理论深度与实践创新能力培养,旨在培养具备扎实专业基础和创新实践能力的应用型人才。 关键词:人工智能;操作系统;教学改革;知识图谱;考研训练
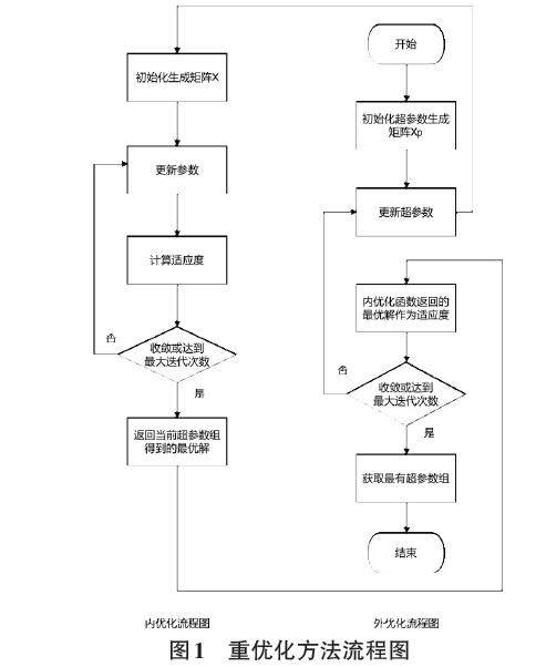
摘要:群智能优化算法的性能高度依赖于其超参数设置,然而现有研究中超参数的选取多具主观性,导致算法间的性能比较缺乏公允性。为解决此问题,文章提出了一种“重优化”(Re-optimization) 方法框架。该框架利用优化算法对自身的超参数进行寻优,从而获得在特定问题下的最优超参数组合。文章以麻雀搜索算法(SSA) 和粒子群算法(PSO) 为例,系统阐述了重优化的实现流程。通过在11个标准基准测试函数
摘要:当前高职Web前端开发课程教学面临教学内容迭代迟缓、教学模式固化、实践环节薄弱及评价体系单一等瓶颈。研究聚焦于AI工具如何通过优化教学资源供给、强化师生互动、赋能个性化学习路径,从而在备课、课堂实施、实践指导及学习评估等关键教学环节中发挥革新作用。文章剖析了AI工具应用所面临的教师数字素养、学生学习自主性、数据安全与伦理困境等挑战,并提出了相应的应对策略。研究旨在探索AI工具与高职Web前端
摘要:针对传统K-Means算法在彩色图像分割中聚类中心随机初始化、特征权重固定及易受噪声干扰等问题,文章提出一种融合密度峰值初始中心选择与动态特征权重调整的改进加权K-Means算法。首先,利用密度峰值思想自动选取高代表性初始聚类中心,克服随机初始化造成的局部最优;其次,算法依据类内方差,在迭代中实时计算HSV颜色与空间特征类内方差,以方差倒数动态调整权重,强化区分度高特征作用,增强类间可分性。
摘要:为破解传统IT工单管理中存在的流程不透明、响应效率低下等痛点,文章提出并实现了一套基于eladmin后台管理框架(eladmin) 的IT工单全流程管理系统。该系统采用前后端分离的B/S架构与模块化设计思想,构建了涵盖工单提交、状态跟踪,以及任务分配与闭环处理的核心功能模块。开发过程中,通过深度利用eladmin的代码生成功能构建基础CRUD操作,使开发者得以聚焦于工单状态流转、角色权限控制
摘要:针对编程通识课程存在的学习态度消极、认同感缺失和编程信心不足的现状,该研究提出基于GAFCC模型的课程游戏化教学模式。文章阐述了GAFCC模型的内涵和基于GAFCC理论模型的课程改革思路,详细介绍了构建游戏化学习情景、设计游戏闯关式学习内容、创建参与互动式课堂、设计探究与协作任务、创建多样化的学习反馈和开展多元化课程评价的思路和具体做法。实践表明,学生编程参与度提升到76%,课程目标达成度超
摘要:Web开发技术课程专业性强、综合性强,涉及知识点多且整体性、逻辑性强。在传统的教学方式下,学生难以形成整体知识架构,学生的系统分析设计能力和应用能力得不到有效的提升。文章阐述了通过重塑课程内容,梳理知识点,构建知识图谱的过程。将构建的“项目+任务+知识”型知识图谱关联多种数字化教学资源,实现了课程知识框架的可视化呈现,优化了在线学习平台。基于超星平台AI助教,导入知识库,为学生提供知识问答,
摘要:为破解高等数学中拉格朗日中值定理与积分中值定理的教学难点,该研究利用动态数学软件GeoGebra,设计并实现了一套交互式可视化教学方案。该方案通过动态滑动条、函数零点求解、切线/面积动态生成等功能,将两大定理中抽象的“[ξ]点存在性”及其几何意义,转化为学生可操作、可探索的动态视觉模型。文章详细阐述了可视化的实现步骤与教学应用实例。实践表明,该方案能够有效激发学生的学习兴趣,深化其对定理本质
摘要:人工智能时代对传统高等教育模式构成挑战,促使其在传承与创新中寻求发展与转型。在此情形下,吉利教育“三个校园”教学理念的建设规划应运而生。文章基于“三个校园”教学理念,聚焦Web前端技术课程的教学现状与优化路径。研究以文献引证和举例论证为主要研究方法,旨在探索如何运用该理念改进课程教学,以期学生能掌握扎实的Web前端开发核心技能与项目实践能力,为未来就业与个人发展奠定坚实基础,并推动高等教育适
摘要:随着企业供应链管理的复杂化,传统供应商管理系统在年审、信息变更及缴费等业务流程中普遍存在效率低、错误率高、依赖人工等问题。该系统升级基于Spring Boot和Vue.js的前后端分离架构,并引入OCR智能识别及建行支付接口集成等技术,实现了供应商管理流程的全面优化。升级后,供应商年审、信息变更等业务流程采用自动化触发与OCR比对,审核效率大幅提升;在线缴费功能支持动态二维码支付,支付时效压
摘要:为解决当前医院信息化建设中普遍存在的系统割裂与数据孤岛问题,该研究旨在探索一套大数据驱动下信息化与运营管理深度融合的系统性策略。研究首先构建了涵盖数据采集与标准化、分布式存储架构及隐私安全防护的医院大数据技术框架。在此基础上,设计了以多维运营指标体系、可视化分析平台与智能预测模型为核心的数据驱动型运营管理模式。最后,文章提出了涵盖系统平台融合、业务流程再造及协同制度保障的“三位一体”实施路径
摘要:为破解高校在线同步教学中普遍存在的交互表面化与协同知识建构不足等瓶颈问题,该研究构建了一套基于时序分析的深度交互诊断与干预新范式。该范式通过多维度分层编码体系对交互行为进行结构化,并创新性地采用滞后序列分析与马尔可夫链模型,实现了对深度交互模式的自动识别与演化规律的精准刻画。基于此,研究进一步设计了动态交互质量评估算法与五阶段促进策略。在为期16周的准实验中,数据显示,该范式能将深度交互比例
摘要:教学案例库普遍存在内容滞后、与实际工程脱节、缺乏动态交互性等问题,限制了案例教学的实际效果。生成式人工智能(GenAI) 技术的突破性发展,为教学案例库的建设与教学模式的重构提供了新的范式。文章聚焦于云计算与大数据教学,提出了一种由生成式AI赋能的案例库建设新范式。该范式以检索增强生成(RAG) 与智能体(Agent) 为技术内核,构建了覆盖案例动态生成、智能交互及个性化学习支持的理论框架。
摘要:随着人工智能和大数据技术的发展,智慧课程知识图谱建设已成为高等教育教学改革的热点。以数据结构课程为例,从节点、关系、资源和AI助教几个方面探索了智慧课程知识图谱的构建,同时探索了智慧课程的教学实践。在国家虚拟教研室平台和智慧树网站均有该课程知识图谱的展现,目前在智慧树平台已构建287个知识节点,建设392个教学资源,生成知识点教案2 558个,课程累计访问量为2 037次。知识图谱的建设为数
摘要:伴随物流行业的迅猛发展,仓储管理成为了企业运营的关键环节。传统仓储管理模式问题频出,无法满足现代企业的发展需求。文章提出融合RFID、AGV与大数据分析技术的智慧仓储管理系统构建方案,借助物联网实现仓储设备与货物的智能互联和数据实时采集,运用大数据技术挖掘和分析海量仓储数据,精准支持管理决策。文章详细阐述了系统的架构设计、技术实现及实际应用效果。在本制造企业试点应用中,系统使出入库效率提升3
摘要:数字化转型进程中数据孤岛效应与合规性监管压力日益凸显,传统边界防护模式难以应对复杂网络环境下的数据安全挑战。针对现有系统密钥分散、应用集成困难及性能瓶颈等问题,文章研究并设计了一种基于全生命周期密码服务的数据安全管理平台。该平台采用四层技术架构,集成了国密SM2、SM3、SM4算法体系,通过密钥管理互操作协议实现了密钥从生成到销毁的闭环管控。利用透明数据加密与标识密码技术,构建了统一的密码服
摘要:随着智能终端的普及与新型电力系统的逐步演进,传统电力监控系统在日益数字化、智能化的电网环境中,面临安全防护不足的挑战。文章梳理了电力监控系统网络安全专业制度与技术标准体系,分析了当前电力监控系统网络安全面临的新挑战和风险,提出加强电力监控系统网络安全防护的工作建议,为进一步提升其安全防护能力提供参考。 关键词:电力监控系统;网络安全;风险分析;安全防护 中图分类号:TP393.08
摘要:随着智能终端的普及,跨设备协同成为提升用户体验的关键。鸿蒙操作系统(HarmonyOS) 通过分布式技术实现服务流转,二维码支付流转作为典型应用,其高安全性、低延迟特性对传输技术和安全机制提出了更高要求。文章重点分析二维码支付流转的底层技术架构,包括数据传输技术和安全机制,阐述其实现方式,提出一种基于分布式安全沙箱的跨设备二维码支付流转机制。该研究为未来金融级分布式应用提供了参考范式。 关
摘要:针对网络空间安全专业离散数学课程思政教学中存在的知识、领域和价值割裂问题,根据新工科要求重新设计了教学目标,结合领域特点对教学内容进行了模块化重构,建立了差异化课程思政案例库,并构建了以问题为锚点的“技术链—伦理链”双轨协同融入模型,实现了数学原理向安全技术的纵向贯通与技术应用向社会责任的横向拓展。教学实践表明,所提课程思政教学方法有效提升了网络空间安全专业学生的专业能力转化率、价值内化度及
摘要:为应对无人机多传感器复合巡检带来的海量、异构输电线路点云数据处理挑战,针对点云数据体量大、冗余高及分类精度不足等问题,提出了一种基于八叉树与神经网络的点云数据处理与优化方法。首先,构建无人机复合巡检点云数据采集与处理平台,实现多源传感信息的高效融合与空间定位;其次,采用八叉树结构对点云数据进行空间划分与自适应抽稀,在保证结构完整性的同时显著降低数据冗余;最后,基于神经网络模型开展特征学习与分
摘要:针对传统大模型在电力应急演练中存在知识滞后与幻觉等问题,文章提出一种基于高级检索增强生成(Advanced Retrieval-Augmented Generation,RAG) 的多模态大模型框架。通过构建电力应急多模态知识库,结合多维向量检索、知识重构与跨模态融合机制,实现动态信息获取与精准内容生成。实验表明,该方法能高效准确地生成可解释的应急演练方案,显著提升方案的实用性与可操作性,为
摘要:文章针对煤船清舱推耙机人工挂脱钩作业效率低、安全风险高的痛点,研发了一种单点自动脱挂钩系统。该系统以PLC(可编程逻辑控制器) 为控制核心,集成无线通信、传感器检测与伺服电机驱动技术,构建了一套包含专用吊具、车身吊点及远程控制台的闭环控制系统。通过设计多重安全联锁与状态反馈的软件控制策略,实现了挂脱钩作业的远程化与自动化。在国能宁海电厂的实际应用表明,该系统在提高清舱作业效率、降低劳动强度、
摘要:为解决变电站复杂环境下无人机(UAV) 路径规划中的禁飞区约束与多目标优化难题,文章提出一种融合自适应变异机制的多目标粒子群优化(MOPSO) 算法。该方法构建了包含路径长度、安全性、飞行高度及平滑度的多目标优化模型,并引入无人机运动学约束以保证路径的可行性。核心在于,所提出的自适应变异机制能够根据种群的拥挤度动态调整变异强度,有效避免算法陷入局部最优,提升帕累托前沿的质量。仿真结果表明,与
摘要:传统空调系统节能改造方法因其固有的技术局限性,难以有效应对动态变化的能效提升需求。针对此问题,文章提出基于物联网的中央空调系统节能改造智能化协同优化方法。首先,构建中央空调系统能效模型,融合设备性能与建筑负荷特性,以分析系统能效并指明节能改造的关键环节。其次,搭建“云—边—端”三级物联网架构,部署多维度传感器实时采集运行数据,并基于运行数据的动态分析设计协同优化策略,以实现中央空调系统节能改
摘要:电动机在工业生产中有着重要的作用,电动机的正常运行直接影响生产效率,甚至生产安全。随着神经网络研究的深入和人工智能算力的提升,电动机故障预测系统已成为研究热点。在预测故障的过程中,需要大量的电动机运行数据,其中,振动状态是重要数据之一。电动机振动检测信号中,存在大量的噪声与误差。卡尔曼滤波算法能够有效减少传感器采集信号中的噪声与误差,提高数据的准确性。文章探讨了卡尔曼滤波算法在传感器检测电动
摘要:课程思政视域下,中职平面设计课程有时面临文化内涵缺失与思政教育形式化的双重困境,将非物质文化遗产融入中职计算机专业平面设计课程教学具有重要价值。文章通过分析非物质文化遗产与思政教育、平面设计课程的内在联系,结合教学实践案例,构建了一套以非物质文化遗产作为核心思政元素融入课程教学的实践模式。以贺州客家文化文创项目为例,阐述了“文化认知—技能训练—项目实践—成果与评价”的四步实施路径。非物质文化
摘要:旨在构建AIGC赋能高校数字媒体技术专业教学改革的系统性路径。通过分析当前专业教学在课程内容滞后、教学模式陈旧、师资与实践条件不足等方面的困境,提出一个包含课程体系智能化重构、教学模式人机协同创新、实践平台与评价体系智慧化升级的三阶段改革路径。结果表明,该路径框架能够有效利用AIGC技术提升教学内容的实时性与行业相关性,支持个性化学习与项目驱动实践,促进学生创新能力和专业素养的全面发展。研究
摘要:随着BIM技术使用场景的不断增加,建筑行业族库规模也在不断扩大。然而,因缺乏有效的分类管理工具,导致族文件查找困难、复用率低,进而影响设计效率。该研究开发了基于Revit API的Revit智能族库分类系统,使用Revit API、机器学习及关系型数据库对族库实现自动分类、高效检索及版本控制;基于C#平台搭建族库分类管理插件界面,支持智能分类、族库检索中的关键字段查询、图像浏览与批量操作等核
摘要:当前,生成式人工智能的迅猛发展正深刻变革学术出版领域,尤其在地球科学领域呈现出效率提升与风险并存的双重效应。文章系统剖析了AI对内容生产、编校优化及伦理规范的重塑机制。研究发现:内容生产环节,AI实现了从文本生成到多模态内容创作的自动化,但伴生了数据虚构、术语误用及虚假文献引用等新型风险;编校环节,AI虽提升了审校效率,但在专业术语识别与学术不端检测方面能力有限;伦理方面,AI作者身份、隐性
摘要:图的因子理论是研究图结构分解的核心工具。文章聚焦于偶因子——一类所有顶点度数均为正偶数的生成子图。偶因子的连通分支数是衡量图哈密尔顿性质和超欧拉性质的重要参数。文章构造了一类新图[P+n],该图由[n]个彼得森图在一个公共顶点上进行星形拼接得到。文章主要研究了[P+n]的偶因子分支数问题,运用Catlin的约化理论和数学归纳法,证明了:若一个连通图[G]的约化图[G]同构于[P+n],则[G
摘要:当前主流的生理状态预测方案多基于人工智能技术,但其高昂的数据采集与计算成本限制了其广泛应用。针对这一问题,文章提出一种基于傅里叶逆变换的低成本生理状态预测方案。该方案通过采集用户的历史患病数据及多种环境与健康关联数据(如气温、心率等) ,利用非线性回归方法为各影响因素构建回归曲线。进而,应用傅里叶逆变换原理,将这些回归曲线综合并变换得到一条生理状态预测曲线,据此实现对个体未来患病风险的动态预
摘要:针对思政教育内容形式单一、技术门槛高、成本与安全等问题,该研究融合多模态AI生成与轻量化部署技术,构建高效低成本的数字化教学赋能框架。通过Stable Diffusion等工具实现图文、音视频生成,采用LoRA微调降低训练成本,建立四维评估模型(政治性、艺术性、技术性、传播性) ,确保内容适配性。最终形成可本地化部署的AI工具包与案例模板库,为军校、军队科研机构和中小型教育机构提供轻量化解决
摘要:数据挖掘课程作为计算机类专业核心课程,依托BOPPPS模型重构教学流程,将思政教育融入教学有助于提升学生综合素养。当前,在教育强国建设处于全面跃升阶段的背景下,在课程导入阶段,从数据隐私保护、算法公平性等社会议题切入,引导学生建立技术伦理认知;目标设定环节明确技术应用与社会责任的双重目标;参与式学习聚焦AlphaGo伦理争议、大数据杀熟等真实案例,通过数据合规性分析与辩论深化社会责任意识;课
摘要:当前,教育强国建设处于全面跃升阶段,计算机应用基础课程教学模式有必要进行改革和创新,以更好地满足国家战略发展要求。针对当下计算机应用基础课程教学改革现状,立足农林院校特色,提出将乡村振兴为主的课程思政要素、创新创业思维能力培养要素、新兴技术拓展教学要素和NCRE考证辅导要素综合起来,相互交叉融入计算机应用基础课程教学中,构建多维培养目标有效融合的教学策略,形成多维培养目标的课程内容,改进当前
摘要:在高校课程思政教育改革不断深化的背景下,如何将思政教育融入Python语言程序设计课程成为一个关键问题。该研究以河南工程学院2021级至2023级共计500名学生为对象,通过教学案例分析、问卷调查等方法,探索在该课程中引入思政教育元素的有效途径。研究表明,将Python编程项目案例与现实社会问题相结合,能显著增强学生的社会责任感和问题解决能力;在Python语言程序设计课程中融入思政教育元素
摘要:当前高校普遍存在专业教育与创新创业教育融合度不高的现象,制约了创新型人才培养质量。为此,文章创新性地提出了一种基于“BOPPPS+PBL”的双轨教学模式。该模式以PBL作为宏观设计主线,模拟真实创业场景,引导学生自主确定学习目标;以BOPPPS作为微观课堂教学的精细化执行框架,围绕PBL阶段确定的学习目标,展开课堂教学各环节,确保核心知识点的有效传递与吸收。文章以云计算技术课程为例详细阐述了
摘要:结合五年制高职电子与信息类专业人才培养方案与课程标准,以数字电子技术为例,通过系统性挖掘专业知识与思政元素的内在关联,设计并实施了项目驱动式的教学案例。旨在探索一条将工程伦理、工匠精神与家国情怀有机融入工科专业教学的有效路径,为同类课程的思政建设提供可借鉴的范式与实践参考。 关键词:五年制高职;数字电子技术;教学案例;思政建设 中图分类号:G712 文献标识码:A 文章编号:
摘要:随着AI技术的发展,教育领域正经历着深刻的变革。针对计算机组成与系统结构课程传统教学中存在的知识点抽象、学习动力不足等问题,文章提出“ARCS动机模型”与“OBE成果导向”教育理念相结合的方式,并借助AIGC技术,赋能应用型高校教师重新构建教学模式。通过“备—思—情—学—做—评”六阶段教学设计,实现教学资源库智能构建、个性化引导学生、增强学习动机、成果导向学生实践、持续改进及多元化评价体系的
摘要:为应对信息技术领域理论与实践脱节的教学挑战,文章依托鸿蒙生态的分布式特性,提出并实践了一种创新的智能购物车应用开发教学模式。该模式以项目驱动为核心,融合理论教学与系统实践,构建了多层次课程体系与实验平台。试点教学结果显示,该模式有效提升了学生的系统集成、创新设计与协作开发能力。该研究为新兴操作系统生态融入高校课程体系提供了可复制的教学案例与实践框架。 关键词:鸿蒙生态;智能购物车;项目驱动
摘要:物联网智能终端产业快速发展对高端技能人才的需求量日益增长,然而当前人才培养模式存在专业人才培养目标不明确、课程体系结构不合理、实践教学力度不足及与产业需求脱节等问题。为解决这些问题,可通过产教深度融合开展物联网智能终端产业培训项目及《物联网智能终端开发与设计》的“1+X”证书试点,明确专业建设目标、优化课程结构、强化实践教学环节等一系列改革措施予以解决。实施过程中通过加强校企合作与教师队伍建
摘要:针对网络安全人才培养供需结构性矛盾,构建“一本三聚五融合”人才培养模式。以产教城融合赋能专业建设,坚持“实战为本”的人才培养定位,聚焦国家网络强国战略、产业前沿和学科导向,在培养目标、毕业要求、课程体系、平台建设、价值引领五个方面融合创新。实践表明,该模式有效提升了人才培养质量,并打破了高校与产业间的人才供需壁垒,为应用型高校人才培养提供了新的思路和方法。 关键词:产教城融合;网络安全实战
摘要:随着信息技术的快速发展,计算机专业人才的自主学习能力成为职业竞争力的核心要素。文章通过调研分析甘肃财贸职业学院计算机专业学生自主学习能力现状,结合国家智慧教育平台的功能特性,提出了基于智慧教育平台提升计算机专业学生自主学习能力的四种策略:一是开发个性化资源并建立动态更新机制;二是强化平台智能路径推荐与协作功能;三是构建混合式教学与项目驱动学习模式;四是通过培训指导和激励机制提升学生自主学习意
摘要:为解决Android应用开发课程存在的“重技术、轻育人”的问题,该研究探索其课程思政改革路径。研究提出,应围绕爱国情怀、职业道德、创新思维、工匠精神四大目标,深度挖掘专业知识中蕴含的思政元素。文章重点阐述了将“天宫空间站”等国家科技成就融入项目实践、将《中华人民共和国个人信息保护法》融入案例教学、组织“App数据收集边界”伦理辩论等创新教学方法。最后,文章探讨了如何构建融合思政维度的多元评价
摘要:为适应数字化转型对中职信息技术课程教学提出的新要求,化解学生基础薄弱且学习动力不足、教学模式传统等困境,该研究探索构建并验证基于数字化赋能的信息技术课程教学新模式。该模式借助智慧职教平台、联想云教室、Cisco Packet Tracer网络仿真软件及AI助手等多种数字化工具,设计了“课前自主学习—课中知识内化—课后反思拓展”的混合式教学闭环。经过一学期在实验班和对照班的教学实践,结果显示该